

Many home theatre loudspeaker systems are assembled piece-by-piece often using components which don't ideally match. Equalising both the loudspeakers and in all cases the response of the room isn't impossible, in fact it's easy! Alan L. Maier discovers that the world is indeed flat.
Many thanks go to Miss. Meaghan Muir and AudioControl for their help and for providing the review sample.
|
AudioControl Rialto 7-Channel EQ/Crossover Specifications |
|
| Number of channels: Seven Front left/right channel frequencies: 160Hz, 250Hz, 400Hz, 630Hz, 1kHz, 1.6kHz, 2.5kHz, 4kHz, 6.3kHz, 10kHz and 16kHz (2/3rd-octave center) Center channel frequencies: same as above Sub-woofer left/right channel frequencies: 25Hz, 32Hz, 40Hz, 50Hz, 63Hz, 80Hz and 100Hz (1/3rd-octave center) Surround channel frequencies: 150Hz, 300Hz, 700Hz, 2.5kHz, and 12kHz. Frequency response: 20Hz - 20kHz +/- 1dBTotal Harmonic Distortion: 0.008% |
Signal to noise ratio: 113dB@ full output Maximum output level: 7 volts Factory default crossover: 24dB/octave @90Hz (user programmable) Programmable Frequency Match (PFM) subsonic filter default: 18dB/octave@25Hz. (User programmable) Size: 2.5" high × 11" deep × 17" wide - 19" wide with optional rack mounts. Country of origin: USA Price: $599 |
| (All specifications as per manufacturer) | |
The AudioControl Rialto 7-Channel Home Theatre Equaliser/Crossover
I was in an audio store recently and I overheard the conversation between two friends shopping for a stereo system. While listening to a pair of loudspeakers, one of the friends told the other that they were out of his budget, he forgot about the equalizer that he had to have. Naturally these guys were putting an equalizer in their system for that added "coolness" factor. Many purist audiophiles might cringe at the thought of placing an equalizer into their system, reasoning that if a system is up to par - why should you have to use such a device?
The installation of a home theater system in particular has placed a number of curves in the road to accurate audio reproduction. Now we are no longer dealing with a simple pair of loudspeakers - but 5, 6 or more are commonplace in a home theater setup. At this point matching and smoothing the sound of a system becomes a task that often is very difficult at best. An audiophile quality equalizer is now a very desirable system tool.
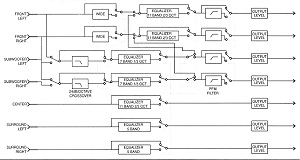
Enter stage left - the AudioControl Rialto seven-channel home theater graphic equalizer. Seven channels? Indeed! Provided are adjustments for left, center and right front channels, left and right channel sub-woofers and bringing up the rear are left and right surround channels. Adjustment parameters are a precise 1/3rd octave for the subwoofer over 7 bands, 2/3rd octave over 11 bands for the front left, center and right channels and 5 bands specifically selected for the surround channels.
Programmable crossovers are provided for the sub-woofer with a 24dB/octave slope. Front left/right and sub-woofer channels feature independent 18dB/octave sub-sonic/high-pass filters. All crossover points are user programmable via plug in modules, which resemble an integrated circuit chip. Additional modules are available from the dealer, AudioControl or can be built.
AudioControl has incorporated a "wide mode" image-enhancing feature into the Rialto. This option is provided for systems where the movie sound won out over musical considerations and the installer placed the left and right loudspeakers adjacent to the screen.
System setup and first impressions
In the AudioControl tradition, the Rialto is a down-to-business no nonsense piece of audio equipment. Gone is the "military look" of past AudioControl equipment, it has been replaced by a smoother and sleeker appearance, which I found appealing. The front panel is solid aluminum and finished in a dark charcoal/brown color with pale beige lettering. With 34 slide controls across a 17" wide front, a bit of sculpting really does go a long way. Each slider glides smoothly and is easy to use without disturbing the neighboring control setting. Push button controls are provided for equalization, sub-sonic filter and wide mode as well as a power button and small power LED. What? No tape monitor loop? Not to worry as the Rialto is installed after the surround sound processor and just ahead of the power amplifiers.
The rear panel can be a bit intimidating at first, however once you become used to working with the Rialto and understand its operation the connections are straightforward and logical. Gain adjustments are provided for main, center, surround and sub-woofer sections. A signal level indicator LED is featured to assist in setting gain for optimum S/N ratio. Also located on the rear panel is a "sub-woofer mode" switch, which configures the Rialto's sub-woofer equalizer to work in conjunction with or independently from the front channel. This feature is a key in integrating the Rialto into both Dolby Pro-Logic" and Dolby Digital" installations. In addition an input gain switch is provided for further system matching. Rounding out the rear panel is an AC accessory outlet.
Living with the Rialto
Power-up produces no DC-offset "thump" which is so common in equalizers, the audio output simply comes up and when turned off - is muted. Only minor "ticks" are produced when engaging the equalizer, subsonic filter or wide mode switches. Traditionally installed an equalizer right ahead of a power amplifier might cause a problem with s/n ratio, however at worst case with my ear to the tweeter - I heard a negligible injection of noise into the system.
When choosing loudspeakers I intentionally did something unusual and mixed brands and models. Home theater systems are often assembled with loudspeakers that are not a "perfect" match to each other, but more a match to the listening environment. Also keep in mind that as example, the center channel loudspeaker that matches your left and right channels might not work on your system. For this reason, I used my PSB Stratus Silver and a pair of the N.E.A.R. 20M II monitors as front left and right main channels, a Definitive Technology CLR2002 for the center channel and Cambridge SoundWorks Ensembles for surrounds. For a sub-woofer I used my Audio Concepts Titan. By using the warble-tone generator and analyze feature of my AudioControl Octave Plus 10 band equalizer, I embarked on "dialing in" my system. First up was to smooth out the room response of the Stratus Silvers, which are a bit "bassy" at times. Using the Rialto's 1/3rd octave sub-woofer equalizer I flattened a pesky bass/room node problem quickly and easily.
Next I took on the task of matching the Definitive CLR2002 to the Stratus Silvers and the N.E.A.R.s. Again a seemingly difficult job became an easy task and with impressive results. I obtained a surprisingly good tonal match between both combinations of the two loudspeaker brands. I did find a sensitivity imbalance when using the N.E.A.R.s, which are less efficient than the Stratus Silvers and particularly the Definitive Technology CLR2002, however a simple adjustment of the center level gain had all in balance.
Heading to the rear, here is an area where the available frequency settings are not spaced by octave but according to real world installation needs. The frequency centers are 150Hz, 300Hz, 700Hz, 2.5kHz and 12kHz, which I found to be well chosen. The Cambridge SoundWorks Ensembles provide a "forward" midrange balance which at times using music surround modes could become noticeable. A nudge downward of the 700Hz slider was helpful, but eventually I was most pleased by making a downward slope that yielded a gradual roll-off. Here there is no "right or wrong" and the frequency centers have been chosen well.
I then integrated the Audio Concepts Titan powered sub-woofer into the system. Here is where the programmable filtering demonstrates itself to be a fantastic feature! Since the sub-woofer and front channels incorporate independent sub-sonic filter modules the user can easily substitute the factory default 25Hz filter with one more suitable for rolling off the lower end of a compact monitor. I ended up selecting an 80Hz module for use with the N.E.A.R. 20M II in effort to ease the load placed upon them when playing at high volume. The result was a fine blending of the N.E.A.R. monitors with the Titan sub-woofer that gentle-slope filters I have used in the past just didn't match. Even with the full range Stratus Silvers I eased the load considerably on the Golden Tube SE-40 amplifier which allowed for much louder volume levels. As a bonus, full bass is restored to the front channels simply by defeating the subsonic filter switch. I feel this feature is a blessing for those who own advanced surround processors and have their systems "dialed in" for optimum performance on soundtracks, but want to listen to - dare I say it - regular 2 channel stereo on music!
To take a listen to the Wide Mode function, I used the Cambridge SoundWorks Ensembles. Locating them 4' apart I engaged the wide mode feature and listened from across the room. The ambiance enhancement effect is a bit strong for my taste in all but background music volume levels, clearly a take-it or leave it option. But give it a shot! Your mileage may vary and it won't cost you anything.
Finally I could not resist using the Rialto as a conventional stereo equalizer just to hear if it would degrade the signal quality. At no point did I detect any apparent degrading of the imaging, soundstage or inner detail of the music.
Summary
I have not been a fan of equalizers in audio systems for many years. The time I have spent using the Rialto has really changed my opinion for a number of reasons. First up - the Rialto performed admirably by truly improving my system sound, particularly in the bass region. Secondly the crossovers for both sub-woofer and main front channels gave me the best blending of main loudspeakers and sub-woofer I have obtained in my system to date. Thirdly and most important in my opinion is that the Rialto imparts a negligible degradation of the signal passed through it. This one aspect is why so many audiophiles like myself have not bothered to use an equalizer in a system that otherwise could benefit. The cost of admission to bring the Rialto into your living room is $600, certainly more than a typical stereo equalizer. However when you consider how much the Rialto does, how well the Rialto performs and most importantly, the improvement the Rialto makes - it's a bargain!
© 1998.
More information about AudioControl products can be found at the Official AudioControl Web Site.
Text © Alan L. Maier, HTML © SMR Home Theatre and Images © SMR Home Theatre, Alan L. Maier & AudioControl cannot be reproduced without permission. Dolby, Dolby Pro-logic and Dolby Digital are trademarks of Dolby Laboratories Licensing Corporation.
This page resides on the SMR Home Theatre server at: https://smr-home-theatre.org/Reviews/Audiocontrol_2/ and contains JavaScript to prevent it being opened within a frame on another site.
Last updated 02 October, 1998
Return to the SMR Home Theatre menu ![]()
(requires a JavaScript enabled browser)